Разновидностью контактной сушки является сушка кожевенного полуфабриката, перемещающегося по греющей поверхности между двумя паропроницаемыми лентами. В этом случае тепло передается полуфабрикату не непосредственно от греющей поверхности, а через одну из лент, которую называют обычно нижней. В качестве греющих поверхностей используются гладкие обогреваемые изнутри металлические цилиндры или плиты, скомпонованные в проходной агрегат. Такой агрегат отличается высокой производительностью и, что особенно важно, может быть включен в полуавтоматическую поточную линию как проходная машина с поштучной обработкой полуфабриката.
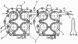
На рис. 48 приведена схема сушильного агрегата контактного действия. Этот агрегат отечественного производства предназначен для ускоренного подвяливания полуфабриката в производстве кож для низа обуви. Агрегат состоит из отдельных секций (на рисунке их две), каждая из которых имеет несколько обогреваемых цилиндров, систему валов, обеспечивающих транспортирование системы лента - полуфабрикат - лента и прижим ее к греющей поверхности, узел привода.

Рис. 48. Схема сушильного агрегата контактного действия:
1 - прижимная лента; 2 - вытяжное устройство; 3- подача холодного воздуха;
4 - транспортирующая лента; 5 - обогреваемые цилиндры;
6 - транспортирующие валы; 7 - натяжной вал
|
В отличие от сушилок конвективного типа, где для подвяливания полуфабриката требуется более 4 ч, в проходном сушильном агрегате контактного действия процесс длится 3-5 мин.
По тому же принципу, что и агрегат для подвяливания, работает и сушильный агрегат американской фирмы "Ролл а флекс", предназначенный для сушки козлины и овчины хромового дубления. Он включает в себя 18 обогреваемых паром цилиндров диаметром 600 мм.
Весь процесс сушки в проходных агрегатах контактного действия состоит из периодически повторяющихся циклов, включающих перемещение системы лента - полуфабрикат - лента по цилиндру и между цилиндрами. При этом подвод тепла к полуфабрикату производится в результате как контактного теплообмена между системой и цилиндрами, так и сложного теплообмена (конвекции, радиации) между системой и окружающей средой. Таким образом, по существу сушка в агрегатах является комбинированной, совмещающей контактную и конвективную сушки. Как показали исследования, механизм такой сушки в общем близок к механизму контактной сушки, хотя имеет и некоторые особенности [60, 70]. Они обусловлены схемой организации процесса комбинированной сушки, свойствами транспортирующих лент и кожевенного полуфабриката.
В зависимости от конструктивных особенностей агрегатов контактного действия меняется продолжительность отдельных циклов сушки и доля времени, которую занимает в каждом цикле непосредственный контакт системы лента - полуфабрикат - лента с греющей поверхностью. Все это сказывается на количественных характеристиках тепло- и влагообмена. Отвод влаги из полуфабриката осуществляется через ленты. Натяжение лент обусловливает степень прижатия системы к греющей поверхности, вследствие чего уменьшаются усадка полуфабриката при сушке и контактное сопротивление термо-и влагопроводности между цилиндром и системой. Довольно часто в сушильных агрегатах полуфабрикат контактирует с поверхностью обогреваемых цилиндров только одной стороной через нижнюю ленту. Поэтому интенсивность подвода тепла к нему во многом зависит от толщины нижней ленты, структурно-механических и теплофизических свойств материала, из которого она изготовлена. Под влиянием верхней ленты изменяются тепло- и влагообмен системы с окружающей средой, что в свою очередь сказывается на распределении температуры в системе.
Для изготовления лент могут быть использованы хлопчатобумажные, шерстяные и синтетические сукна и сетки, а также металлические сетки. В рассмотренном выше агрегате для подвяливания полуфабриката ленты сделаны из хлопчатобумажного термостойкого сукна с лавсаном. Ленты из этого материала характеризуются большой толщиной (6 мм) и низкой теплопроводностью. Вследствие этого при контакте с сушильными цилиндрами на нижней ленте возникает чрезмерно большой перепад температуры. Кроме того, при сушке полуфабриката хромового дубления, когда температура греющей поверхности достигает 100 °С, нижняя лента работает в тяжелых для текстильных материалов условиях. В этом случае значительно лучшие результаты достигаются при использовании в качестве нижней ленты специальной металлической сетки.
Важнейшим параметром режима комбинированной сушки, активно влияющим на температуру высушиваемого полуфабриката, процессы внутреннего переноса тепла и влаги в системе и длительность процесса, является температура греющей поверхности. Как показали исследования, длительность процесса сушки полуфабриката хромового дубления, имеющего влажность 67%, до влажности 10% при увеличении температуры греющей поверхности с 60 до 120 0С сокращается в шесть раз [110].
Остальные параметры режима - температура окружающего воздуха, скорость его перемещения, давление прижатия системы к греющей поверхности - воздействуют на процесс сушки значительно меньше, и это воздействие при различных сочетаниях лент неодинаково.
Максимальная температура греющей поверхности устанавливается в зависимости от назначения процесса (подвяливание, сушка), и главным образом от термостойкости полуфабриката.
Для уменьшения опасности перегрева кожевенного полуфабриката в ряде случаев оказывается рациональным контактный подвод тепла осуществлять попеременно к его лицевой и бахтармяной поверхностям. Такой принцип использован, например, в созданной за рубежом проходной сушилке "Меатерм".
В этой сушилке полуфабрикат транспортируется между двумя бесконечными паропроницаемыми лентами, над обогреваемыми плитами, причем действию тепла подвергаются попеременно обе его стороны. Достаточно плотный контакт системы с греющей поверхностью достигается под действием массы полуфабриката и лент. Противоположная сторона системы при этом подвергается радиационному нагреву от расположенной над ней другой горячей плитой. Такой нагрев обеспечивает выравнивание содержания влаги в полуфабрикате, так как более важные участки последнего поглощают больше лучистой энергии.
Продолжительность основной сушки полуфабриката хромового дубления до содержания влаги примерно 30 % в сушилке "Меатерм", включающей 21 греющую плиту, в зависимости от толщины полуфабриката составляет 30-50 мин. Для подсушки его требуется 5-10 мин.
|